BZF系列振动防闭塞装置(仓壁振动器)用途及特点:
BZF系列防闭塞装置是以振动电机为激振源的节能通过型产品,它是靠高频振动和冲击力,有效地消除由于内摩擦、潮解、带电、成分偏析等原因而引起的架桥、搭拱、堵塞等现象,从而使物料从仓口顺利排出,保证稳定供料所必需的设备。BZF系列防闭塞装置广泛应用于冶金、化工、建材、火电、煤炭、食品、水泥、制药、化肥、粮食、铸造、陶瓷、磨料等行业中贮料仓的防闭塞之用。BZF系列防闭塞装置具有体积小、重量轻、高效节能、安装简单等优点。
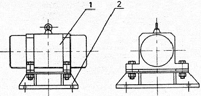
BZF系列振动防闭塞装置(防闭塞装置)结构及工作原理:
BZF系列防闭装置的结构如图1所示。由振动电机(1)、底座(2)两部分组成。振动电机和底座由螺栓紧密地固定为一体,由于底座坚固地安装在料仓壁上,这样就构成了单质点定向强迫振动系统。

当防闭塞装置工作时,振动电机的高速转动,便产生了对料仓壁的周期性高频振动,由于防闭塞装置的周期性振动,一方面使物料与仓壁脱离接触、消除物料与仓壁的摩擦,另一方面使物料受交变速度和加速度的影响,处于不稳定状态,从而有效地克服物料的内摩擦力和聚集力,以消除料仓内物料间的相对稳定性,使物料从料仓口顺利排出。
三、BZF系列振动防闭塞装置(防闭塞装置)性能参数:
|
型 号
|
电压
(V) |
功率
(KW) |
适仓壁板
厚(mm) |
仓钳部容量
(t) |
激振力
kg |
激振频率
r/min |
振幅
mm |
外形尺寸
(长×宽×高) |
重量
kg |
|
BZF-3
|
380
|
0.09
|
2~3
|
0.5
|
100
|
3000
|
1.5
|
258×260×198
|
11
|
|
BZF-4
|
0.18
|
3.2~4.5
|
1
|
200
|
1.5
|
320×326×265
|
28
|
||
|
BZF-5
|
0.25
|
4.5~6
|
3
|
300
|
2
|
360×328×255
|
40
|
||
|
BZF-6
|
0.37
|
6~8
|
10
|
500
|
2
|
370×460×310
|
60
|
||
|
BZF-9
|
0.75
|
8~10
|
20
|
1000
|
4
|
427×460×374
|
90
|
||
|
BZF-12
|
1.5
|
10~13
|
50
|
2000
|
4
|
470×482×420
|
186
|
||
|
BZF-20
|
2.2
|
13~25
|
150
|
3000
|
5
|
535×520×432
|
220
|
||
|
BZF-30
|
3.7
|
25~40
|
200
|
5000
|
5
|
553×610×453
|
280
|
四、BZF系列振动防闭塞装置(防闭塞装置)外形尺寸:
|
型 号
|
BZF-3
|
BZF-4
|
BZF-5
|
BZF-6
|
BZF-9
|
BZF-12
|
BZF-20
|
BZF-30
|
|
L
|
258
|
320
|
360
|
370
|
440
|
470
|
535
|
553
|
|
A
|
239
|
253
|
280
|
298
|
419
|
423
|
470
|
495
|
|
B
|
260
|
326
|
328
|
460
|
462
|
482
|
520
|
610
|
|
H
|
198
|
265
|
255
|
310
|
374
|
420
|
432
|
453
|
|
C
|
199
|
213
|
240
|
248
|
369
|
363
|
410
|
435
|
|
D
|
220
|
286
|
288
|
410
|
412
|
422
|
460
|
500
|
|
Ф
|
10
|
12
|
14
|
16
|
20
|
22
|
34
|
34
|


